蒸汽疏水閥蠟式熱動力元件實驗研究
1 前言
在能源日趨緊張的形勢下,節能已成為我國發展國民經濟的一條重要方針。蒸汽作為重要的二次能源,被廣泛地應用在各種行業中,蒸汽疏水閥是保障蒸汽系統(加熱設備或蒸汽管網)正常工作、凝結水回收利用、節約能源的重要自力式控制類閥門。在石油化工、能源動力(熱電、核電)、印染紡織、造紙、船舶、制藥、冶金、食品、供熱等行業得到廣泛應用。蒸汽疏水閥中,屬于自力式溫度控制閥的熱靜力式蒸汽疏水閥由于其可以有一定過冷度,節能效果好而得到重視。
蠟式熱動力元件是新興起的一種高效自力式溫度控制閥的核心部件,它可以同時滿足微位移與大驅動力的要求,且具有結構簡單、動作可靠、溫度控制精度較高等優點而被廣泛使用。它根據固體和液體不可壓縮和利用密封容器內工作介質(感溫蠟與金屬銅粉的混合物)的體積隨溫度變化而變化的物理性質而工作,提供蠟式熱動力元件在膨脹方向上的驅動力。過去蠟式熱動力元件主要用于20℃~90℃的恒溫閥、節溫器等產品,由于內充介質感溫蠟相變溫度以及氟橡膠囊橡(或橫隔膜)耐溫,都可在100℃~180℃,所以蠟式熱動力元件有可能應用于熱靜力式蒸汽疏水閥一般高于100℃的場合。
本文對蠟式熱動力元件的原理、性能進行討論,對在蒸汽疏水閥中的應用可能進行了探討,并通過數學模型及實驗加以論證。
1 蠟式熱動力元件工作原理、性能特點
蠟式熱動力元件是一種自力式溫度調節裝置,其基本結構如圖 l 所示。

圖 1 蠟式熱動力元件
主要由活塞、膠囊橡膠體(或橫隔膜)、密封容器、感溫蠟組成。感溫蠟被密封在銅罩和橡膠套之間,當流體或蒸汽通過蠟式熱動力元件時,蠟式熱動力元件受熱(遇冷)→熱量通過剛性紫銅密封容器外壁使杯內石蠟受熱熔化(冷凝)體積膨脹(收縮)→推動膠囊橡膠體(或橫隔膜)→推動活塞→帶動調節套筒的運動,從而完成裝置所要求的目的。推桿行程的大小是蠟式熱動力元件的主要性能指標。同一溫度下,載荷越大,行程越小。對于已確定的蠟元件和外載荷,蠟式熱動力元件的特性是固定不變的。為了制造的標準化和系列化,可將蠟式熱動力元件設計為標準型式,在需要的力量和行程較大時,可選用密封容器容積較大的,反之可選用容積較小的。這樣可使蠟式熱動力元件適用于不同的條件下和裝置中,也對蠟式熱動力元件的推廣起到了很大的促進作用。在蠟式熱動力元件中,推桿與彈性套筒之間的摩擦對蠟元件的工作壽命起著決定性的作用,因此在設計制造蠟式熱動力元件時應盡可能的降低推桿和彈性套筒摩擦副表面的粗糙度,減小摩擦力。
蠟式熱動力元件是一種溫度敏感性元件,不同的設計額定溫度就要使用相應膨脹性能的感溫蠟,蠟的熱膨脹性直接影響熱動力元件的控溫性能,因此對感溫蠟的研究就顯得非常重要。感溫元件的關鍵部件是石蠟材料和橡膠套,為了使石蠟在各點能最大限度地均勻膨脹,在石蠟中摻有金屬粉末,往石蠟里添加金屬粉末來提高其導熱性,而金屬粉末的添加方式對石蠟復合材料的膨脹率也有一定影響,但不會改變石蠟復合材料的膨脹特性。
3 蒸汽疏水閥蠟式熱動力元件實驗研究
實驗裝置及實驗原理
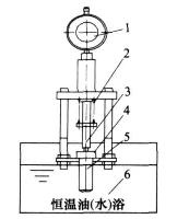
為了更好的說明蠟式熱動力元件的特性,和在蒸汽疏水閥中應用的可能性,現對定制樣件進行實驗研究。簡易的實驗裝置如圖 2 所示。

圖 2 簡易實驗裝置簡圖(1.千分尺 2.彈簧 3.導桿 4.蠟式熱動力元件 5.恒溫油(水)浴)
主要由以下幾部分組成:專用夾具、千分尺、壓縮彈簧、導向套筒、恒溫油浴,其中:采用恒溫油浴控制溫度模擬蒸汽中一般高于100℃的介質溫度。壓縮彈簧用來模擬疏水閥中作用于熱動力元件的凝結水(蒸汽)的介質壓力和復位彈簧力,調節彈簧壓縮量或更換不同剛度的彈簧可以模擬不同的公稱通徑疏水閥的介質壓力,夾具模擬疏水閥閥體來固定熱動力元件。蠟式熱動力元件的伸長量反映在實驗夾具的千分尺上。
4 結論
(l)蠟式熱動力元件的熱力數學模型的建立與實驗顯示:精餾石蠟體積隨溫度的變化在相變區呈線形關系,且線性斜率較大,有利于實現溫度的調節;
(2)感溫蠟相變時具有很大的膨脹量和驅動力,以及不可壓縮性,在剛性殼體內作為感溫材料制作蠟式熱動力疏水閥顯示出很高的應用價值;
(3)由于蠟式熱動力元件內件的限制,作為蒸汽疏水閥的感溫元件,其適用溫度范圍有限,適合用于有一定過冷度的場合,不能用于高溫環境。