雙向金屬密封蝶閥
一、前言
為了滿足高溫、低溫、強腐蝕、強沖蝕以及長壽命等工業的使用要求,金屬密封蝶閥成為近年來發展最快的閥門品種之一。在一些特殊場合對金屬硬密封蝶閥的密封提出了更高的要求,必須雙向承壓。而目前國內外市場上金屬硬密封多采用雙偏心和三維偏心密封原理,這兩種密封結構都是在介質正向流動狀態下,密封效果較好;當介質在逆流狀態時,由于介質的壓力作用于蝶板產生偏心力矩,不利于閥門的密封。再則,由于機加工的間隙問題,反向密封性能大大降低。
二、結構
楔式雙向金屬密封蝶閥(如圖 1 所示)是以開、關閥時自動研磨密封補償理論為基礎,結合閘閥、可撐攏球閥、軌道式球閥等產品結構特點設計而成的。

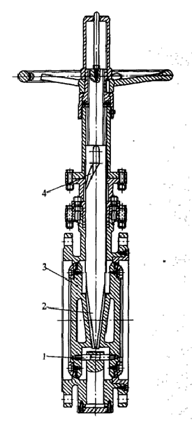
圖 1 軌道楔式雙向硬密封蝶閥結構圖(1.彈黃定位銷 2.燕尾槽收縮機構 3.雙閥座密封結構 4.螺旋升降機構)
彈贊定位銷可保證蝶板不會因為蝶板重力作用下墜,還可在下閥桿端部設置調整塊來保證蝶板位置固定。在整個啟閉過程,閥桿依靠燕尾槽收縮機構、螺旋升降軌道完成垂直直線運動,而蝶板須依靠燕尾槽收縮機構、螺旋升降軌道完成向中心收縮脫離閥座,在這一過程中密封面采用先脫開后開啟的方式,保證從密封到瞬時脫離閥座后始終保持間隙,沒有摩擦,所以閥門密封面沒有磨損,使用壽命長,扭矩小。而且由于閥桿的楔形塊與燕尾槽的作用,對閥門增加了強制密封力,增大了密封比壓,實現雙向密封。
組合式密封圈可根據用戶使用需求采用以聚四氟乙烯為主要材料加工成型的軟密封圈、由不銹鋼與柔性石墨層疊壓而成的多層密封圈或整體不銹鋼全金屬密封圈等各種形式。依靠其對稱設置的左右蝶板,分別與閥體內對稱設置的左右閥座的密封貼合,沒有偏心距,形成兩道密封,從而大大提高了密封性能的可靠性,蝶板雙向零泄漏。
本產品還可在閥體中部增加水封裝置,它可以在發生緊急情況或管線檢修時往中腔充水,起到安全保障和一閥二用的作用。
楔式雙向金屬密封蝶閥采用了雙蝶板全錐面密封面結構,可以實現開關閥過程中蝶板密封面與閥體密封面不斷的進行研磨、自我矯正,提高了使用壽命。操作過程由于介質壓力是有助于閥門開啟的,所以減小了操作力矩。
三、結語
楔式雙向金屬密封蝶閥的密封結構新穎獨特,雙蝶板具有雙向密封功能,因此更適合于高溫、高壓的工況。閥門加工工藝性好,設計制造成本低,是一種適應高技術參數、高性能工業輸送系統的硬密封蝶閥。