直動式減壓閥的工作原理
直動式減壓閥的工作原理

減壓閥工作原理比較復雜,下面為大家介紹一下直動式減壓閥的工作原理。
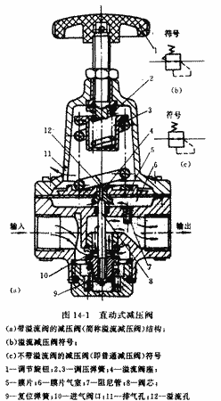
圖14—1a所示為直動式帶溢流閥的減壓閥(簡稱溢流)的結構圖。壓力為P1的壓縮空氣,由左端輸入經閥口10節流后,壓力降為P2輸出。P2的大小可由調壓彈簧2、3進行調節。順時針旋轉旋鈕1,壓縮彈簧2、3及膜片5使閥芯8下移,增大閥口10的開度使P2增大。若反時針旋轉旋鈕1,閥口10的開度減小,P2隨之減小。
若P1瞬時升高,P2將隨之升高,使膜片氣室6內壓力升高,在膜片5上產生的推力相應增大,此推力破壞了原來力的平衡,使膜片5向上移動,有少部分氣流經溢流孔12、排氣孔11排出。在膜片上移的同時,因復位彈簧9的作用,使閥芯8也向上移動,關小進氣閥口10,節流作用加大,使輸出壓力下降,直至達到新的平衡為止,輸出壓力基本又回到原來值。若輸入壓力瞬時下降,輸出壓力也下降、膜片5下移,芯8隨之下移,進氣閥口10開大,節流作用減小,使輸出壓力也基本回到原來值。逆時針旋轉旋鈕1。使調節彈簧2、3放松,氣體作用在膜片5上的推力大于調壓彈簧的作用力,膜片向上曲,靠復位彈簧的作用關閉進氣閥口10。再旋轉旋鈕1,進氣閥芯8的頂端與溢流閥座4將脫開,膜片氣室6中的壓縮空氣便經溢流孔12、排氣孔11排出,使閥處于無輸出狀態。
總之,溢流減壓閥是靠進氣口的節流作用減壓,靠膜片上力的平衡作用和溢流孔的溢流作用穩壓;調節彈簧即可使輸出壓力在一定范圍內改變。為防止以上溢流式減壓閥徘出少量氣體對周圍環境的污染,可采用不帶溢流閥的減壓閥(即普通減壓閥)。
?